在数字化转型深化的当下,企业培训考核已迈入全流程线上化阶段,证书作为培训成果认证、岗位资质核验的核心载体,其管理效率直接影响企业人才管控与合规经营水平。宏远培训考试系统深耕企业考培场景痛点,打造了兼具灵活性、智能化与针对性的证书管理模块,以全流程自动化管控、个性化定制及精准化提醒功能,成为企业证书管理的优选解决方案,尤其适配煤矿、建筑等安全类企业的严苛管理需求。
证书模板自定义是宏远培训考试系统证书管理模块的核心优势之一,充分满足企业品牌化与场景化需求。系统摒弃传统固定模板的僵化限制,提供全维度自定义配置功能,管理员可根据培训类型、考试等级等差异,自由选择横版或竖版布局,适配不同场景下的展示与打印需求——横版模板适合企业全员结业认证,版面开阔可承载更多培训细节;竖版模板则适配岗位资格认证,契合传统证书的视觉习惯。在视觉设计上,支持上传高清背景图片,可嵌入企业LOGO、培训主题标语、防伪水印等元素,既能强化企业品牌标识,又能提升证书权威性与防伪性。针对不同行业特性,模板还支持自定义信息字段,可灵活添加培训项目名称、考核评分、发证机构等内容,实现“一场一证”的个性化设计,无需专业设计技能即可快速生成规范美观的证书模板,大幅降低企业证书制作成本。
证书发放的自动化与精准化,彻底破解了传统人工发放模式的效率瓶颈与误差风险。宏远培训考试系统实现了证书管理与培训、考试流程的深度联动,在培训计划或考试发布阶段,管理员可直接关联预设的证书模板,明确证书获取条件——无论是培训课程完成率达标、考试成绩合格,还是“课程学习+实操考核”的综合达标,系统均可精准识别触发条件。当员工满足认证要求后,系统将自动生成电子证书,同步录入唯一证书编号、有效期、持证人信息等核心内容,无需人工干预即可完成批量分发,发放效率较传统模式提升90%以上,且避免了人工录入导致的信息错误。电子证书支持在线查看、下载与打印,证书编号可实现全程溯源,便于企业与第三方机构核验真实性,有效杜绝假证乱象,强化认证公信力。这种“培训/考试-认证-发证”的闭环管理,让证书发放更具规范性,也为员工能力评估提供了精准依据。
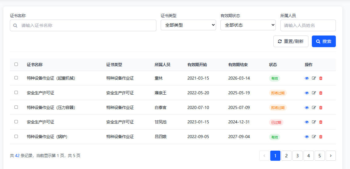
多条件精准查询功能,为企业证书档案管理提供了高效解决方案。宏远培训考试系统搭建了全面的证书管理数据库,将所有发放证书按统一标准分类归档,管理员可通过多维度筛选条件快速定位目标证书,查询条件涵盖证书类型(如结业证书、资格证书、安全认证证书等)、获取时间、证书状态(有效、过期、待更新)、持证人姓名、所属部门等关键信息。针对大型企业多部门、多岗位的复杂场景,系统支持跨部门、跨层级查询,可一键导出证书列表与详细信息,为人力资源盘点、资质审核、审计检查等工作提供快速数据支撑。相较于传统纸质档案或单一维度查询的管理模式,该功能大幅缩短了信息检索时间,让证书管理从“被动存档”转向“主动管控”,提升企业人才管理的精细化水平。
证书到期智能提醒功能,更是宏远培训考试系统针对安全类企业需求的核心亮点设计。对于煤矿、建筑、危化品等行业而言,员工岗位资格证书、安全操作证书等是合规作业的前提,证书过期未更新将直接面临安全生产违规风险,甚至引发安全事故。宏远培训考试系统精准捕捉这一痛点,内置智能提醒机制,当证书临近有效期(提醒周期可自定义设置)时,系统将自动弹窗提醒管理员处理,同步显示证书名称、持证人、到期时间等关键信息,确保管理员第一时间知晓并安排续期培训与考核。同时,系统支持向持证人推送短信或站内信提醒,督促员工主动参与续期流程,形成“管理员+员工”的双重提醒机制,从源头规避证书过期风险。某煤矿企业使用该系统后,证书过期率从以往的12%降至0.3%,有效保障了一线作业人员的资质合规性,降低了安全生产管控压力。
除核心功能外,宏远培训考试系统证书管理模块还具备高度的兼容性与扩展性,可与企业HR系统、培训管理系统、安全生产管理系统等无缝对接,实现证书信息与员工档案、培训记录、岗位变动等数据的实时同步,构建全方位的人才管理数据体系。系统采用加密存储技术,确保证书信息的安全性与私密性,防止数据泄露与篡改,满足企业数据安全合规要求。

在企业数字化考培日益普及的今天,证书管理的规范化与智能化已成为企业提升核心竞争力的重要抓手。宏远培训考试系统证书管理模块以“自定义设计、自动化发放、精准化查询、智能化提醒”为核心,破解了传统证书管理的效率低、风险高、管控难等痛点,既适配普通企业的日常培训认证需求,更能满足安全类企业的严苛管控标准。通过该模块,企业可实现证书全生命周期的数字化管控,提升人才管理效率与合规经营水平,为企业高质量发展提供坚实的人才认证支撑。